iPhone丢了找不回?苹果这项新专利可能帮到你
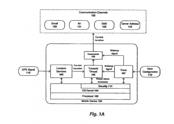
不不不,很多人会想到苹果的“Find My iPhone”功能,Find My iPhone功能允许机主通过iCloud账户来定位手机,但若手机处于关机状态就无法执行追踪定位了。不过,最近苹果申请了一项专利——高级版的Find My iPhone功能,即使手机处于关机状态也能进行定位。

据专利文件描述,iPhone内部会启动一个专用的计时器,每隔一段时间自动打开Find My iPhone功能,向机主发送当前的位置信息。此外这项功能不会对手机的续航产生影响,即使在手机没电关机的情况下依然能使用Find My iPhone功能。
但问题来了,定位了你就真能拿回来么?不如弄个专利iPhone一键飞回机主身边?
专注苹果新闻报道,每日推送最新苹果资讯。扫描下方二维码关注苹果汇官方微信(或微信中搜:appleinc2012)。

收藏成功
查看我的收藏
